
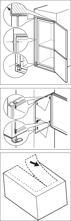
4 mm
44 mm
Juster produktet i nisjen.
Sørg for at avstanden mellom produktet
og sideveggene er 44 mm.
Det nedre hengseldekselet (finnes i posen
med ekstrautstyr) sørger for at avstanden
mellom produktet og kjøkkenskapene er
riktig.
Sørg for at avstanden mellom produktet
og sideveggene er 4 mm.
Åpne døren. Sett hengseldekselet på
plass.
I
I
Fest produktet til nisjen med 4 skruer.
Fjern den riktige delen fra hengseldekse-
let (E). Sørg for å fjerne delen DX for et
høyremontert hengsel, SX i motsatt tilfel-
le.
progress 45
Komentáře k této Příručce